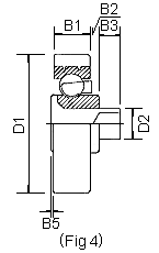
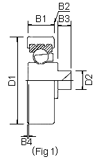
Roller No. D1 D2 B1 B2 B3 B4 B5 L/C Fig
K-196/P5 19 5 6 0.5 3.2 0.2 - 20kg 1
K-226/PH0.5 22 5 6 0.5 5.4 0.1 - 40kg 3
K-226/57SO 22 5 6 0.8 4 - 0.8 40kg 4
K-226/P5 22 5 6 1.5 3.5 - 0.3 30kg 2
K-227/P5SO 22 5 7 1.5 3.7 0.7 - 40kg 3
K-226/P6 22 6 6 1.5 4 - 0.5 30kg 2
K-226/PH2.5 22 5 6 2.5 3.8 - 0.5 40kg (4)Point-Pin
K-226/PH4 22 5 6 4.5 4 - 0.5 40kg 4
K-226/P5-5 22 5 6 5.5 3.5 - 0.5 30kg 2
K-227/PH0.5 22 5 7 0.5 5.4 1.1 - 40kg 3
K-227/57SO 22 5 7 0.8 4 0.3 - 40kg 3
K-227/P5 22 5 7 1.5 3.5 0.7 - 30kg 1
K-226/P5SO 22 5 6 1.5 3.7 - 0.3 40kg 4
K-227/P6 22 6 7 1.5 4 0.5 - 30kg 1
K-227/PH2.5 22 5 7 2.5 3.8 0.5 - 40kg (3)Point-Pin
K-227/PH4 22 5 7 4.5 4 0.5 - 40kg 3
K-227/P5-5 22 5 7 5.5 3.5 0.5 - 30kg 1
K-256/PH0.5 25 5 6 0.5 5.4 0.1 - 40kg 3
K-256/57SO 25 5 6 0.8 4 - 0.8 40kg 4
K-256/P5 25 5 6 1.5 3.5 - 0.3 30kg 2
K-256/P5SO 25 5 6 1.5 3.7 - 0.3 40kg 4
K-256/P6 25 6 6 1.5 4 - 0.5 30kg 2
K-256/PH2.5 25 5 6 2.5 3.8 - 0.5 40kg (4)Point-Pin
K-256/PH4 25 5 6 4.5 4 - 0.5 40kg 4
K-256/P5-5 25 5 6 5.5 3.5 - 0.5 30kg 2
K-268/P5 26 5 8 0.5 3.5 0.7 - 30kg 1
K-268/P5SO 26 5 8 0.5 3.7 0.7 - 40kg 3
K-268/P6 26 6 8 0.5 4 0.5 - 30kg 1
K-268/PH2.5 26 5 8 1.5 3.8 0.5 - 60kg (3)Point-Pin
K-268/PH4 26 5 8 3.5 4 0.5 - 60kg 3
K-268/P5-5 26 5 8 4.5 3.5 0.5 - 30kg 1
K-309/P5 30 5 9 0 3.5 1.2 - 30kg 1
K-309/P5SO 30 5 9 0 3.7 1.2 - 60kg 3
K-309/P6 30 6 9 0 4 1 - 30kg 1
K-309/PH2.5 30 5 9 1 3.8 1 - 60kg (3)Point-Pin
K-309/PH4 30 5 9 3 4 1 - 60kg 3
K-309/P5-5 30 5 9 4 3.5 1 - 30kg 1

1. L/C=Load Capacity at 300 r.p.m. (kg).

2. Depend on a stock position, minimum quantity might be applied for few models.
Made in Japan


MATEX SEIKO & CO., LTD.  2-3-9, Nihonbashi-higashi
Naniwa-ku, Osaka 556-0006 JAPAN
Tel: +81-6-6648-6801    Fax: +81-6-6648-6811