Roller No. D1 D2 B1 B2 B3 B4 head L/C Fig
U-196/S0.5 DU 19 M6-1 6 1.0 8 0.3 80kg 1
U-196/S-1 DU 19 M6-1 6 1.5 8 0.3 80kg 1
U-196/S-2 DU 19 M6-1 6 2.5 8 0.3 80kg 1
U-196/S-3 DU 19 M6-1 6 3.5 8 0.3 80kg 1
U-196/S-4 DU 19 M6-1 6 4.5 8 0.3 80kg 1
U-196/S-5 DU 19 M6-1 6 5.5 8 0.3 80kg 1
U-196/S-6 DU 19 M6-1 6 6.5 8 0.3 80kg 1
U-256/S0.5 DU 25 M6-1 6 1.0 8 0.3 80kg 1
U-256/S-1 DU 25 M6-1 6 1.5 8 0.3 80kg 1
U-256/S-2 DU 25 M6-1 6 2.5 8 0.3 80kg 1
U-256/S-3 DU 25 M6-1 6 3.5 8 0.3 80kg 1
U-256/S-4 DU 25 M6-1 6 4.5 8 0.3 80kg 1
U-256/S-5 DU 25 M6-1 6 5.5 8 0.3 80kg 1
U-256/S-6 DU 25 M6-1 6 6.5 8 0.3 80kg 1

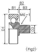
Roller No. D1 D2 B1 B2 B3 head L/C Fig
U-227/S0.5 DU 22 M6-1 7 0.5 8 80kg 2
U-227/S-1 DU 22 M6-1 7 1 8 80kg 2
U-227/S-2 DU 22 M6-1 7 2 8 80kg 2
U-227/S-3 DU 22 M6-1 7 3 8 80kg 2
U-227/S-4 DU 22 M6-1 7 4 8 80kg 2
U-227/S-5 DU 22 M6-1 7 5 8 80kg 2
U-227/S-6 DU 22 M6-1 7 6 8 80kg 2
U-247/S0.5 DU 24 M6-1 7 0.5 8 50kg 2
U-247/S-1 DU 24 M6-1 7 1 8 50kg 2
U-247/S-2 DU 24 M6-1 7 2 8 50kg 2
U-247/S-3 DU 24 M6-1 7 3 8 50kg 2
U-247/S-4 DU 24 M6-1 7 4 8 50kg 2
U-247/S-5 DU 24 M6-1 7 5 8 50kg 2
U-247/S-6 DU 24 M6-1 7 6 8 50kg 2
U-267/S0.5 DU 26 M6-1 7 0.5 8 80kg 2
U-267/S-1 DU 26 M6-1 7 1 8 80kg 2
U-267/S-2 DU 26 M6-1 7 2 8 80kg 2
U-267/S-3 DU 26 M6-1 7 3 8 80kg 2
U-267/S-4 DU 26 M6-1 7 4 8 80kg 2
U-267/S-5 DU 26 M6-1 7 5 8 80kg 2
U-267/S-6 DU 26 M6-1 7 6 8 80kg 2
U-287/S0.5 DU 28 M6-1 7 0.5 8 50kg 2
U-287/S-1 DU 28 M6-1 7 1 8 50kg 2
U-287/S-2 DU 28 M6-1 7 2 8 50kg 2
U-287/S-3 DU 28 M6-1 7 3 8 50kg 2
U-287/S-4 DU 28 M6-1 7 4 8 50kg 2
U-287/S-5 DU 28 M6-1 7 5 8 50kg 2
U-287/S-6 DU 28 M6-1 7 6 8 50kg 2
U-307/S0.5 DU 30 M6-1 7 0.5 8 80kg 2
U-307/S-1 DU 30 M6-1 7 1 8 80kg 2
U-307/S-2 DU 30 M6-1 7 2 8 80kg 2
U-307/S-3 DU 30 M6-1 7 3 8 80kg 2
U-307/S-4 DU 30 M6-1 7 4 8 80kg 2
U-307/S-5 DU 30 M6-1 7 5 8 80kg 2
U-307/S-6 DU 30 M6-1 7 6 8 80kg 2

1. L/C=Load Capacity at 300 r.p.m. (kg).

2. Depend on a stock position, minimum quantity might be applied for few models.
Made in Japan


MATEX SEIKO & CO., LTD.  2-3-9, Nihonbashi-higashi
Naniwa-ku, Osaka 556-0006 JAPAN
Tel: +81-6-6648-6801    Fax: +81-6-6648-6811