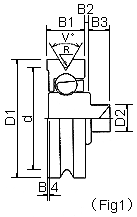
Roller No. D1 D2 d B1 B2 B3 B4 V R Balls Fig
VCD-227/P5 22 5 19 7 1 3.5 0.2 60 0.6R 5/32"x
6Balls
1
VCD-227/P6 22 6 19 7 1 4.0 0 60 0.6R 5/32"x
6Balls
1
VCD-227/P5-2.5 22 5 19 7 2.5 3.5 0 60 0.6R 5/32"x
6Balls
1
VCD-227/P5-5 22 5 19 7 5 3.5 0 60 0.6R 5/32"x
6Balls
1
VCD-247/P5 24 5 21 7 1 3.5 0.2 60 0.6R 5/32"x
6Balls
1
VCD-247/P6 24 6 21 7 1 4.0 0 60 0.6R 5/32"x
6Balls
1
VCD-247/P5-2.5 24 5 21 7 2.5 3.5 0 60 0.6R 5/32"x
6Balls
1
VCD-247/P5-5 24 5 21 7 5 3.5 0 60 0.6R 5/32"x
6Balls
1
VCD-267/P5 26 5 23 7 1 3.5 0.2 60 0.6R 5/32"x
6Balls
1
VCD-267/P6 26 6 23 7 1 4.0 0 60 0.6R 5/32"x
6Balls
1
VCD-267/P5-2.5 26 5 23 7 2.5 3.5 0 60 0.6R 5/32"x
6Balls
1
VCD-267/P5-5 26 5 23 7 5 3.5 0 60 0.6R 5/32"x
6Balls
1
VCD-287/P5 28 5 25 7 1 3.5 0.2 60 0.6R 5/32"x
6Balls
1
VCD-287/P6 28 6 25 7 1 4.0 0 60 0.6R 5/32"x
6Balls
1
VCD-287/P5-2.5 28 5 25 7 2.5 3.5 0 60 0.6R 5/32"x
6Balls
1
VCD-287/P5-5 28 5 25 7 5 3.5 0 60 0.6R 5/32"x
6Balls
1
VCD-307/P5 30 5 27 7 1 3.5 0.2 60 0.6R 5/32"x
6Balls
1
VCD-307/P6 30 6 27 7 1 4.0 0 60 0.6R 5/32"x
6Balls
1
VCD-307/P5-2.5 30 5 27 7 2.5 3.5 0 60 0.6R 5/32"x
6Balls
1
VCD-307/P5-5 30 5 27 7 5 3.5 0 60 0.6R 5/32"x
6Balls
1


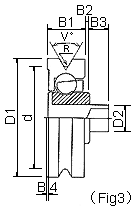
Roller No. D1 D2 d B1 B2 B3 B4 B5 V R Balls Fig
VCD-227/PH0.3 22 5 19 7 0.3 4 - 0.3 60 0.6R 5/32"x
6Balls
2
VCD-227/PH1 22 5 19 7 1 3.7 0.2 - 60 0.6R 5/32"x
6Balls
3
VCD-227/PH2 22 5 19 7 2 3.8 0 - 60 0.6R 5/32"x
6Balls
4
VCD-227/PH4 22 5 19 7 4 4 0 - 60 0.6R 5/32"x
6Balls
3
VCD-247/PH0.3 24 5 21 7 0.3 4 - 0.3 60 0.6R 5/32"x
6Balls
2
VCD-247/PH1 24 5 21 7 1 3.7 0.2 - 60 0.6R 5/32"x
6Balls
3
VCD-247/PH2 24 5 21 7 2 3.8 0 - 60 0.6R 5/32"x
6Balls
4
VCD-247/PH4 24 5 21 7 4 4 0 - 60 0.6R 5/32"x
6Balls
3
VCD-267/PH0.3 26 5 23 7 0.3 4 - 0.3 60 0.6R 5/32"x
6Balls
2
VCD-267/PH1 26 5 23 7 1 3.7 0.2 - 60 0.6R 5/32"x
6Balls
3
VCD-267/PH2 26 5 23 7 2 3.8 0 - 60 0.6R 5/32"x
6Balls
4
VCD-267/PH4 26 5 23 7 4 4 0 - 60 0.6R 5/32"x
6Balls
3
VCD-287/PH0.3 28 5 25 7 0.3 4 - 0.3 60 0.6R 5/32"x
6Balls
2
VCD-287/PH1 28 5 25 7 1 3.7 0.2 - 60 0.6R 5/32"x
6Balls
3
VCD-287/PH2 28 5 25 7 2 3.8 0 - 60 0.6R 5/32"x
6Balls
4
VCD-287/PH4 28 5 25 7 4 4 0 - 60 0.6R 5/32"x
6Balls
3
VCD-307/PH0.3 30 5 27 7 0.3 4 - 0.3 60 0.6R 5/32"x
6Balls
2
VCD-307/PH1 30 5 27 7 1 3.7 0.2 - 60 0.6R 5/32"x
6Balls
3
VCD-307/PH2 30 5 27 7 2 3.8 0 - 60 0.6R 5/32"x
6Balls
4
VCD-307/PH4 30 5 27 7 4 4 0 - 60 0.6R 5/32"x
6Balls
3

1. L/C=Load Capacity at 300 r.p.m. (kg).

2. Depend on a stock position, minimum quantity might be applied for few models.
Made in Japan


MATEX SEIKO & CO., LTD.  2-3-9, Nihonbashi-higashi
Naniwa-ku, Osaka 556-0006 JAPAN
Tel: +81-6-6648-6801    Fax: +81-6-6648-6811